Гость
Гость
Аккаунт удален

Регистрация: 01.01.1970

Сообщений: 188626

30.12.2011 в 14:47:36

Смеситель примерно такой - Eurosmart Hygienica , других подобных на сайте не нашел (установленный покупался 4 года назад и отличается чуть внешним дизайном).

Проблема - при нажатии на кнопку лейки вода продолжает течь как из смесителя (3/4 потока воды), так и из лейки (примерно 1/4 потока).

В сервисе посоветовали заменить лейку и продали Oras, не помогло.

Я развинтил смеситель, разобрал картридж, прочистил всё от накипи, собрал. Не помогло.

Какую деталь нужно заменить? Выкидывать смеситель жалко. Гарантии нет. Демонтировать и везти в сервис пока лень, но конечно придётся, если не догадаюсь. Но судя по их настроению им выгоднее продать новый смеситель, чем заниматься диагностикой старого негарантийного.

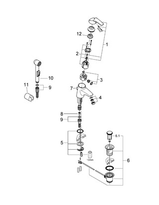
Деталировка в точности такая

В родной лейке клапанов не было.
Какая деталь вообще перенаправляет воду в лейку, блокируя при этом поток воды в излив смесителя? Клапан 08565 перед шлангом кажется на это не влияет?

Буду благодарен за подсказку, всем симпу в карму ну и вообще всяческих ништяков.

0
Вложение
Байпасс
Байпасс
Резидент

Регистрация: 05.02.2008

Санкт-Петербург

Сообщений: 3098

30.12.2011 в 15:57:46

.надо поменять либо весь переключатель 46466, либо конкретно клапанок, который показан рядом с переключателем перед прокладкой...

Если давление на входе в смеситель превышает 4 бара -он нормально работать не будет...

0
Гость
Гость
Аккаунт удален

Регистрация: 01.01.1970

Сообщений: 188626

02.01.2012 в 17:15:40

Огромное спасибо и с наступившим! А как он вынимается? Было заметно, что вынуть его можно, но болтов при первом осмотре я не заметил ни изнутри, ни снизу. Ну и теперь понятно, что в с/ц путь мне лежит. Толко не понятно пока придётся ли демонтировать смеситель. Еще раз спасибо!

0

Авторизуйтесь или зарегистрируйтесь, чтобы оставить комментарий.

Присоединяйтесь к самому крупному DIY сообществу