старыймастер
старыймастер
Резидент

Регистрация: 05.10.2006

Москва

Сообщений: 1784

02.02.2012 в 20:23:56

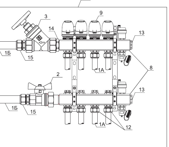
Иногда коллекторах подачи и обратки ставят шаровые краны. а иногда на обратке- прямоточные вентили. как на рис ( взято из альбома valtec)

какое из этих решений правильное и почему?

0
Вложение
SCB
SCB
Резидент

Регистрация: 17.02.2008

Москва

Сообщений: 2871

02.02.2012 в 20:28:02

Прямоточный вентиль предполагается использовать для балансировки системы.

0
старыймастер
старыймастер
Резидент

Регистрация: 05.10.2006

Москва

Сообщений: 1784

02.02.2012 в 21:02:49

SCB написал : Прямоточный вентиль предполагается использовать для балансировки системы.

ИМХО балансировка системы осуществляется корректировкой расхода по веткам, для чего и установлены расходомеры на коллекторах

0
SMAIL
SMAIL
Местный

Регистрация: 08.09.2009

Санкт-Петербург

Сообщений: 217

02.02.2012 в 21:35:52

Не знаю, как на счёт баллансировки..... Знаю одно,любой(рис 3) вентиль является преградой,сопротивлением потоку. Любой кроме -"шарового". Сечение отверстия закрывающей сферы вентиля, совпадает с
внутренним сечением трубы. И в большинстве случаев, лучше и правильней.

0
SCB
SCB
Резидент

Регистрация: 17.02.2008

Москва

Сообщений: 2871

02.02.2012 в 22:04:44

старыймастер написал : для чего и установлены расходомеры на коллекторах

и где они на вашем чертеже?

0
Байпасс
Байпасс
Резидент

Регистрация: 05.02.2008

Санкт-Петербург

Сообщений: 3098

02.02.2012 в 23:15:00

SMAIL написал : Не знаю, как на счёт баллансировки..... Знаю одно,любой(рис 3) вентиль является преградой,сопротивлением потоку. .

.. для "сопротивления" их и ставят... если б не ставили, например на стояках, то вся циркуляция шла бы по первому стояку от теплогенератора, вот вентилями на стояках его и "прижимают" (то есть создают искусственное сопротивление потоку) ... при этом не бегают по этажам регулируя радиаторы , а настраивают только стояк.... так и в приведенной схеме -можно между собой сбалансировать петли, но общую балансировку с системой удобней выполнять одним ветилем, а не кучей...

0
старыймастер
старыймастер
Резидент

Регистрация: 05.10.2006

Москва

Сообщений: 1784

02.02.2012 в 23:43:44

SCB написал : и где они на вашем чертеже?

Чертеж не мой..:) Да. на этом чертеже их нет, но ИМХО одним общим вентилем вы не отбалансируете теплый пол, состоящий из нескольких контуров

0
старыймастер
старыймастер
Резидент

Регистрация: 05.10.2006

Москва

Сообщений: 1784

02.02.2012 в 23:52:46

Байпасс написал : но общую балансировку с системой удобней выполнять одним ветилем, а не кучей...

Вы имеете в виду соотношение тепловых потоков. направляемых на радиаторы и на коллекторы теплых полов? Но ведь во многих аналогичных схемах вентили не ставят. Я собственно и поднял эту тему, тк в первый раз увидел вентиль в такой схеме. Насколько я понимаю. есть трехходовой кран. регулирующий соотношение теплового потока между радиаторами и теплыми полами. что связано с необходимостью понижения температуры теплоносителя в теплых полах по сравнению с радиаторами. Это не оно? Те. вентиль является упрощенным аналогом трехходового крана? Или я совсем ничего не понимаю? :confused:

0
SCB
SCB
Резидент

Регистрация: 17.02.2008

Москва

Сообщений: 2871

02.02.2012 в 23:55:46

Совсем ничего не понимаете. Вам типовой альбом дали?

0
старыймастер
старыймастер
Резидент

Регистрация: 05.10.2006

Москва

Сообщений: 1784

03.02.2012 в 00:09:04

SCB написал : Вам типовой альбом дали?

Дали

0

Авторизуйтесь или зарегистрируйтесь, чтобы оставить комментарий.

Присоединяйтесь к самому крупному DIY сообществу