Pashkin
Pashkin
Новичок

Регистрация: 04.05.2009

Таллин

Сообщений: 6

08.05.2009 в 16:25:20

у меня вал идёт конусный, и на торце вала внутренее отверстие с резьбой 8-10 не помню точно, на выходных на даче буду, уточню и сфоткаю.:)

0
mich_
mich_
Местный

Регистрация: 16.10.2008

Москва

Сообщений: 705

14.05.2009 в 14:38:17

kotmot написал : Та втулка не должна откручиваться - она должна просто сниматься. Надо молотком через брусок легонько простучать, втулка и слететь должна.

Посмотрите внимательно на фото от rem 273 - там видно, что перед втулкой стоит еще одна деталь, типа проставки с лысками под рожковый ключ. Это съемник! Он на резьбе - стопорите вал, начинаете ключом крутить "проставку" - она сталкивает с вала втулку (втулка сидит на конусе Морзе, вместо нее можно поставить на вал патрон от дрели на 16 мм)! Сам так всегда делаю, после того, как один раз догадался (в инструкции про это не было написано). Только предварительно стопорный винт (М8) из торца вала выкрутите :). Может, правда, на новых станках эту деталь упразднили :(. У меня 1990 г. латвийский, она есть, но резьбовая часть втулки уже короче, чем у rem 273 :(

0
rem273
rem273
Резидент

Регистрация: 27.07.2008

Санкт-Петербург

Сообщений: 2820

14.05.2009 в 16:24:56

mich_ написал : перед втулкой стоит еще одна деталь, типа проставки с лысками под рожковый ключ. Это съемник

Классный секрет!
Вот поэтому у меня и не получилось сразу снять втулку: я ключом держал эту проставку, а втулку пытался скрутить.
Выходит, я просто закручивал саму проставку :cool:

0
rem273
rem273
Резидент

Регистрация: 27.07.2008

Санкт-Петербург

Сообщений: 2820

21.05.2009 в 12:46:29

Держу наконец в руках Руководство по эксплуатации ИЭ-6009А 2000 года выпуска с двигателем 900 Вт, Могилёвлифтмаш. 18 листов, все читаются. :)
Отсканировать смогу только в выходные :(

0
kotmot
kotmot
Местный

Регистрация: 13.01.2009

Suderburg

Сообщений: 104

21.05.2009 в 17:27:13

Самое время выложить, тут многие искали. И мне надо, так, чтобы было.

0
Admin
Admin
Админ

Регистрация: 08.10.2005

Москва

Сообщений: 4655

21.05.2009 в 21:45:19

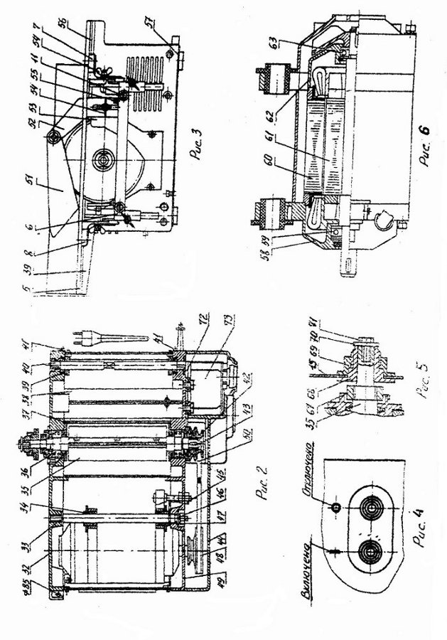
Ну вот и Руководство по эксплуатации ИЭ-6009А. СПАСИБО rem273! страницы с 01-07

0
Вложение
Admin
Admin
Админ

Регистрация: 08.10.2005

Москва

Сообщений: 4655

22.05.2009 в 17:37:42

страницы с 08-15

0
Вложение
Admin
Admin
Админ

Регистрация: 08.10.2005

Москва

Сообщений: 4655

22.05.2009 в 17:38:39

страницы 16-20

0
Вложение
kotmot
kotmot
Местный

Регистрация: 13.01.2009

Suderburg

Сообщений: 104

23.05.2009 в 09:48:09

:applause:спасибо за инструкцию!!!

1
Гость
Гость
Аккаунт удален

Регистрация: 01.01.1970

Сообщений: 188626

25.05.2009 в 15:54:15

А, что за пильный диск странной формы идет в комплекте? Можно ли им пользоваться?

0
rem273
rem273
Резидент

Регистрация: 27.07.2008

Санкт-Петербург

Сообщений: 2820

25.05.2009 в 20:53:31

Мне с самого начала этот диск подозрительным показался… На рис.1, где комплектность, нарисован обычный, здесь, 17-й рисунок, - загадка.
Наверно, художник сказать хотел чего-то, да не успел. :) Причём, в зонах А и Б каждого сектора развод надо делать в 2 раза больше. Может, знает кто, в чём фишка?

0

Авторизуйтесь или зарегистрируйтесь, чтобы оставить комментарий.

Присоединяйтесь к самому крупному DIY сообществу