Сергей73
Сергей73
Новичок

Регистрация: 12.05.2011

Ульяновск

Сообщений: 33

17.09.2011 в 08:41:34

Malevich,Да уж! Арматура (восьмая была, десятой не было, взял двенадцатую), песок, керамзит на объекте, но чем ближе приближается день "Х", тем больше возникает сомнений ... тот ли керамзит, выдержит ли опалубка (боюсА пенопласт-опалубка сломается и все труды и затраты насмарку, одна сторона листа пенопласта 0,1м * 1м * 1м лежит на стене-фундаменте два противоположных угла на бетонных подпорках). Где то читал, что для керамзитобетона нужен цемент 500, а я могу позволить себе только 400, да и то сомнительного качества. Так что: сомнения гложутЬ! Пока арматуры-сетки не нашел, можно ли использовать, в качестве сетки, высечку 3мм * 125мм* 1250мм?

0
Malevich
Malevich
Резидент

Регистрация: 01.02.2009

Москва

Сообщений: 2571

17.09.2011 в 14:07:05

Сергей73

  1. ПВС в качестве арматуры не встречал. Только под штукатурку или наливной пол. Можете нарисовать принятый вариант армирования? (Хотя бы на бумаге и сделать фото).
  2. По цементу: на сегодняшний день в нашем районе за мешок марки "Евро"просят 320 р, обычный же - 240. Примерный расход на плиту - 3 мешка, что даёт разницу всего в 240 рублей. К тому же на форуме встречаются жалобы на несоответствие марочности цемента; что даже "Евро" не соответствует заявленной цифре 500, а по сравнению с ним простой портланд существенно хуже - в этом и сам имел возможность убедиться. Так что решайте...
  3. Пенопласт поробуйте сначала нагрузить на улице, хотя бы песком, подстраховав снизу от излома. Но даже если и не сломается, то прогиб ППС на одном метре будет существенным: ведь на 1 м2 ложится распределённая нагрузка 150 кГ (при плотности 1,5). Если есть доступ в подполье (или что там внизу), то непременно надо ставить временные подпорки. А если нет, то всё равно надо ставить; хотя бы узкие доски с верёвкой через продухи фундамента, чтобы потом попытаться их вытащить.
0
Сергей73
Сергей73
Новичок

Регистрация: 12.05.2011

Ульяновск

Сообщений: 33

17.09.2011 в 20:59:49

Malevich написал : нужно симметричное армирование. + поперечное арматура по линии опирания на промеж. опоры: 4 прутка 12 мм/3м, перевязанные с продольными и вертикальными стержнями в местах пересечения.

Почему Вы советуете 4 прутка, ведь у меня будет три "грядки" опорных колец? Попытаюсь словами описать планируемую схему армирования: три трех метровых прутка над опорными кольцами на 20мм высоте от низа плиты, пятнадцать полуторометровых прутков равномерно распределенных, проволокой связанных с тремя нижними арматурами, на высоте 80мм от низа плиты 12 высечек

Сергей73 написал : высечку 3мм * 125мм* 1250мм?

. Пока думаю: стоит ли сварить высечки попарно, тогда их будет 6 и по 2500мм длиной? Купил ПЦ 500 Новоульяновский аж 6 мешков по 250руб, выбор цементов у нас не велик, есть еще Мордовский 400 примерно по этой же цене.

Malevich написал : Или купить в Леруа канистру жидкого пластификатора.

Ближайший Леруа у нас в Самаре, местных магазинов с пластификаторами пока не нашел.

0
Malevich
Malevich
Резидент

Регистрация: 01.02.2009

Москва

Сообщений: 2571

17.09.2011 в 22:17:24

Сергей73 написал : Почему Вы советуете 4 прутка, ведь у меня будет три "грядки" опорных колец?

Сергей, личку посмотрите. Боюсь, на пальцах мы просто не понимаем друг-друга, а вопрос достаточно серьёзный.

0
steppe
steppe
Резидент

Регистрация: 31.10.2009

Пушкино

Сообщений: 1059

18.09.2011 в 15:04:40

Malevich написал : К тому же на форуме встречаются жалобы на несоответствие марочности цемента; что даже "Евро" не соответствует заявленной цифре 500, а по сравнению с ним простой портланд существенно хуже - в этом и сам имел возможность убедиться.

А если керамзитобетонная армированная снизу плита перекрытия облицована (хорошо прилепленной) керамической плиткой, то сколько М может быть у облицовочного керамического слоя при планарном сжатии (когда хорошо прилепленная плитка не встаёт на дыбы и уложена квадратик к квадратику с тонкими с отностительно узкими по отношению к тощине плитки зацементированными щёлками)?

0
Malevich
Malevich
Резидент

Регистрация: 01.02.2009

Москва

Сообщений: 2571

18.09.2011 в 17:05:34

steppe, вопрос понял (надеюсь :)); навскидку - не знаю, но обещаю подумать. В нормативах, конечно, такого нет: сегодня плитка цела, а завтра её расколят или вообще срубят, поэтому учитывать возможную "добавочную прочность" перекрытия с учётом типа покрытия нельзя.
А что касается марочности самого покрытия - так зависит от плитки: от гуана и вплоть до керамогранита. Естественно, что прочность связующего при этом должна быть выше прочности используемого материала, сколь бы ни были малы зазоры между отдельными фрагментами. Сергей73, Вы чертёж получили?

0
Malevich
Malevich
Резидент

Регистрация: 01.02.2009

Москва

Сообщений: 2571

18.09.2011 в 21:57:07

steppe, работал в саду. Думал о плитке :):

  1. Деформации изгиба распределяются по толщине плиты линейно, достигая макс. значения на поверхности, и имея "0" по нейтральной оси сечения. Иначе - взаимный сдвиг слоёв и нарушение сплошности. В случае использования поверхностного материала с бОльшим модулем упругости (плитка) по отношению к кер/бетону максимальные относительные деформации, будучи помноженными на этот модуль, дадут напряжения сжатия существенно превосходящие напряжения в прилегающем слое бетона. Такие же напряжения будут испытывать и прослойки затирки между плитками, а в случае их разрушения - сколь бы тонкими они ни были - рассматривать работу слоя как единого целого невозможно: одни лишь касательные напряжения не способны повлиять на работу плиты, и разрушение её начнётся именно по дефектным стыкам.
  2. Предельное состояние для дискретного покрытия - это разрушение сплошности его укладки с образованием шарниров по стыкам, поскольку материал прослоек изгибным деформациям противостоять не может. Совместное действие общего изгиба плиты и сжимающих нагрузок приведёт к тому, что плитка начнёт отрываться, преодолевая прочность склейки или прилегающего слоя бетона (с мясом). Причём сам процесс будет зависим от соотношения размеров фрагментов к размерам плиты в целом. Максимум суммарной прочности будет достигнут при одиночной плитке в размер покрытия. Первая пришедшая в голову аналогия к 1 и 2: Допустим, усилили деревянную рейку накладкой стальной линейки по сжатым волокнам. На жидкие гвозди, шурупы... - одним словом, посадили надёжно. (Имеем некое подобие ж/б, но только с внешней арматурой по сжатой стороне). Работает - да, конечно: уже не трещит и прогиб уменьшился. А потом взяли и заменили линейку отдельными стальными чешуйками, или даже сделали в ней один стык посередине - а рейка хрясть и сломалась в этом месте. Как бы ни был тщательно заделан стык, но силовой элемент здесь прерывается и напряжения сжатия в нём вызывают смятие материала шва. Только непрерывность сечения обеспечивает эффективную работу. Хотя раскладка плитки со сдвигом рядов может немного облегчить её судьбу. :)
  3. Чтобы обеспечить общую устойчивость нагруженного напряжениями сжатия тонкого слоя - а толщина его весьма мала по отнош. к общей толщине плиты - необходима поперечная его фиксация к материалу плиты, причём с учётом прочности на отрыв самого бетона, а не скрепляющего материала/клея. Есть подозрение (пока под вопросом - надо вникнуть), что, если расчитывать на увеличение изгибной прочности "усиленной" подобным образом плиты, то разрушение - выдавливание, вспучивание - поверхности бетона может наступить раньше, чем будет достигнута предельная прочность по облицовочному материалу. Не случайно многие сжатые элементы - высокие дымовые трубы, нагруженные колонны и т.п. армируют внешними хомутами.
0
Malevich
Malevich
Резидент

Регистрация: 01.02.2009

Москва

Сообщений: 2571

18.09.2011 в 21:58:07

  1. Короче, моя Ымха: облицовка пола плиткой, (к тому же - скорее всего, - подразумевающая наличие слоя гидроизоляции по бетону) ничего не прибавит к существующей прочности перекрытия. Если же просто класть плитку на бетон, со слоем раствора и по сетке, то общее увеличение толщины перекрытия скажется благоприятно, только учитывать эту помощь в расчётах не надо.
    П.С. Приношу извинения за возможную корявость формулировок: из'яснялся своими словами, в меру своего понимания вопроса, не выискивая подсказки в инете. П.П.С. Вообще, строители стараются избегать таких вариантов конструкции, когда потеря несущей способности, начавшись с какого-то дефекта или локального разрушения, лавинообразно нарастает вплоть до обрушения всей конструкции. В случае же случайно треснувшей плитки и на пределе несущей способности плиты, можем получить именно такой вариант развития событий. П.П.П.С. А Вы именно об этом спрашивали? ;)
0
Сергей73
Сергей73
Новичок

Регистрация: 12.05.2011

Ульяновск

Сообщений: 33

18.09.2011 в 22:40:27

Malevich написал : Сергей73, Вы чертёж получили?

Да! Ответ на "мыле".

0
steppe
steppe
Резидент

Регистрация: 31.10.2009

Пушкино

Сообщений: 1059

18.09.2011 в 23:34:55

Malevich написал : Естественно, что прочность связующего при этом должна быть выше прочности используемого материала, сколь бы ни были малы зазоры между отдельными фрагментами.

Это не поняла. По порядку и последовательно: Ведь это не связующая, а распорная прокладка (служащая для равномерного по кромкам плиток распределения напряжений планарного сжатия). При сжатии плиточной облицовки (толщина которой значительна по сравнению с толщиной плиты перекрытия) эта прокладка зажимается в узкой щели между плитками, даже если это просто сыпучий песочек или пыль, то она пропорционально упрочняется от сжатия её твёрдых трущихся частичек (практически до бесконечности? пока не перейдёт в жидкую фазу при сверхдавлении, как, например, в недрах нейтронных звёзд) Ведь из узкой щели твёрдая прокладка (даже песочек или пыль) не выдавиться, как жидкость или резина. А при снятии напряжения останется насыпанной в щели.

0
Malevich
Malevich
Резидент

Регистрация: 01.02.2009

Москва

Сообщений: 2571

19.09.2011 в 13:32:28

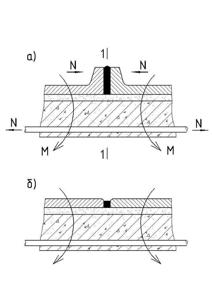
steppe написал : Ведь из узкой щели твёрдая прокладка (даже песочек или пыль) не выдавиться, как жидкость или резина. А при снятии напряжения останется насыпанной в щели.

Теоретически - да, в понимание чего нарисовал утрированную картинку (вариант "а"). А практически имеем дело с вариантом "б", когда разрушенный материал в зазоре может именно выдавливаться наружу, или, при снятии нагрузки, вымываться (выметаться, выдуваться...) оттуда. Т.е. будем иметь только основное сечение плиты. Поэтому...

Malevich написал : общее увеличение толщины перекрытия скажется благоприятно, только учитывать эту помощь в расчётах не надо.

0
Вложение

Авторизуйтесь или зарегистрируйтесь, чтобы оставить комментарий.

Присоединяйтесь к самому крупному DIY сообществу