seat80
seat80
Новичок

Регистрация: 04.05.2016

Саратов

Сообщений: 51

13.02.2018 в 12:14:53

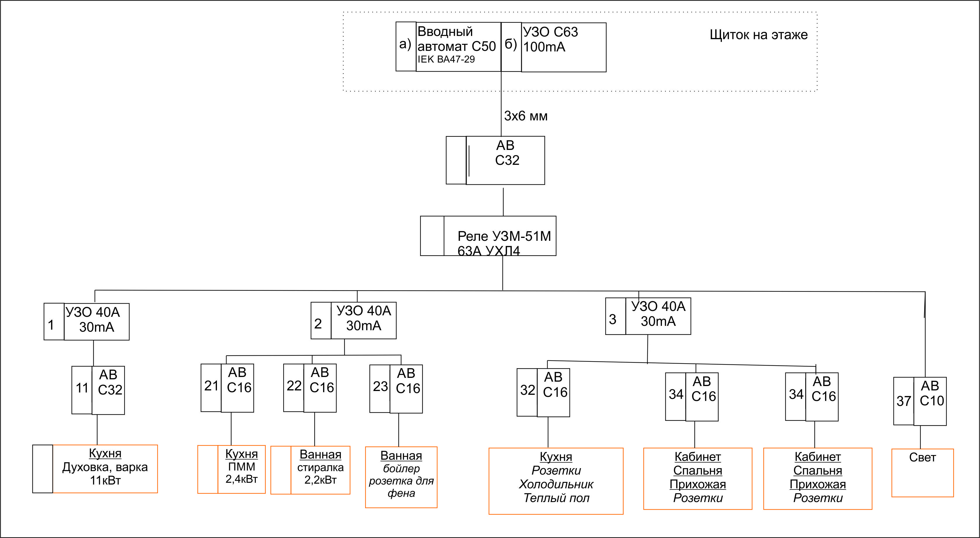
Здравствуйте! Помогите, пожалуйста, со щитком в небольшой двухкомнатной квартире (50 кв. м.). Вводные данные:

  1. Вводный кабель от застройщика 3х6 мм
  2. Щиток уже замурован в стену и к сожалению расширить его нет возможности. Щиток на 16 модулей
  3. В щитке на этаже находится автомат IEK ВА47-29 и противопожарное УЗО С63 100 mA
  4. Варочная панель и духовой шкаф висят на одном 3х6 мм проводе. Разделить нет возможности, все замуровано, фартук выложен.

Основные потребители: Варочная панель - 7,5 кВт Духовка - 3,5кВт Стиралка - 2,5 кВт ПММ -2,4 кВт Теплый пол на небольшой лоджии (2,5кв.м.) Холодильник Бойлер на 50 л.(планируется использовать пару недель в году, у него есть свой дифавтомат)

Планирую использовать следующие модули: УЗМ-51М 63А - 1 шт. Автомат Hager MY 110 С10 -1 шт. Автомат Hager MY 110 С16 - 6 шт. Автомат Hager MY 110 С32 - 1 шт.
УЗО Hager CD 241J 40A 30mA - 3 шт.

Поделитесь, пожалуйста, своим мнение о данном варианте щитка. Какие ошибки допущены? И как их исправить?

0
MaSeVi
MaSeVi
Резидент

Регистрация: 08.10.2009

Москва

Сообщений: 18139

13.02.2018 в 12:18:25

Если места мало, 1 УЗО можно исключить. Хол-к, ТП и розетки нужно разделить. Ещё 1 АВ на свет. MY серию заменить на MC. Вы уверены, что вводной кабель 6 квадратов?

0

Проектирование и сборка электрощитов.
Автоматизация систем ("Умный дом", IoT).
Разработка монтажных схем для самостоятельной сборки щитов.
Библиотека автоматики для Visio.

dmitrovski
dmitrovski
Резидент

Регистрация: 25.11.2015

Дмитров

Сообщений: 7557

13.02.2018 в 12:22:09

seat80, вводной не может быть 3х6

0
dokar
dokar
Мадонатор

Регистрация: 22.12.2010

Москва

Сообщений: 21572

13.02.2018 в 12:40:14

MaSeVi написал: Вы уверены, что вводной кабель 6 квадратов?

Почему нет ? Там вводной перед шитом 32А . Только не понятно где он .

0

Да, ни фига.

MaSeVi
MaSeVi
Резидент

Регистрация: 08.10.2009

Москва

Сообщений: 18139

13.02.2018 в 12:42:18

dokar написал: Почему нет ? Там вводной перед шитом 32А

Хммм, я увидел С50, не?

0

Проектирование и сборка электрощитов.
Автоматизация систем ("Умный дом", IoT).
Разработка монтажных схем для самостоятельной сборки щитов.
Библиотека автоматики для Visio.

seat80
seat80
Новичок

Регистрация: 04.05.2016

Саратов

Сообщений: 51

13.02.2018 в 12:43:34

MaSeVi написал: Вы уверены, что вводной кабель 6 квадратов?

Да, застройщик протянул такой кабель и в квартире поставил один дифавтомат IEK АД12 С32. Его я планирую заменить на хагеровский С32

MaSeVi написал: 1 УЗО можно исключить.

Вы имеете ввиду УЗО, которое защищает варку+духовой шкаф?

0
dokar
dokar
Мадонатор

Регистрация: 22.12.2010

Москва

Сообщений: 21572

13.02.2018 в 12:44:39

seat80 написал: Бойлер на 50 л.(планируется использовать пару недель в году, у него есть свой дифавтомат)

На схеме нет . Может на шнуре висит ? Так это - УЗО, в чистом виде.

0

Да, ни фига.

dokar
dokar
Мадонатор

Регистрация: 22.12.2010

Москва

Сообщений: 21572

13.02.2018 в 12:45:54

MaSeVi написал: Хммм, я увидел С50, не?

Перед УЗМ , не видно ?

0

Да, ни фига.

seat80
seat80
Новичок

Регистрация: 04.05.2016

Саратов

Сообщений: 51

13.02.2018 в 12:45:57

MaSeVi написал: Хммм, я увидел С50, не?

Да в подъездном щитке застройщик установил IEK ВА47-29 С50, а в самой квартире IEK АД12 С32

0
MaSeVi
MaSeVi
Резидент

Регистрация: 08.10.2009

Москва

Сообщений: 18139

13.02.2018 в 12:47:09

seat80 написал: Да, застройщик протянул такой кабель и в квартире поставил один дифавтомат IEK АД12 С32. Его я планирую заменить на хагеровский С32

Тогда ясно. Спасибо, что поправили меня.

seat80 написал: Вы имеете ввиду УЗО, которое защищает варку+духовой шкаф?

Любое из показанных. Оставляете 2 УЗО и под них всё аккуратно распределяете. Хол-к, розетки и ТП под свои АВ.

0

Проектирование и сборка электрощитов.
Автоматизация систем ("Умный дом", IoT).
Разработка монтажных схем для самостоятельной сборки щитов.
Библиотека автоматики для Visio.

dokar
dokar
Мадонатор

Регистрация: 22.12.2010

Москва

Сообщений: 21572

13.02.2018 в 12:48:02

seat80 написал: Да, застройщик протянул такой кабель и в квартире поставил один дифавтомат IEK АД12 С32. Его я планирую заменить на хагеровский С32

Вот его в помойку . Автомат можно и на 40А поставить при таком вводе в квартиру.

0

Да, ни фига.

Авторизуйтесь или зарегистрируйтесь, чтобы оставить комментарий.

Присоединяйтесь к самому крупному DIY сообществу