Shamy
Shamy
Местный

Регистрация: 14.10.2006

Краснодар

Сообщений: 119

18.07.2007 в 23:44:37

Хорошего времени суток! Лет десять назад встречался субж изготовленный из фольгированного стеклотекстолита. И ловил ДМВ хорошо. Если кто знает, где раздобыть схемку или чертёж такого девайса? Назначение - ловить упомянутое ДМВ через окошко на лесничной площадке, будучи подсунутым под оббивку металлической входной двери; дело в том что все окна моей квартиры - со стороны дома противоположной Останкино, в то время как с "правильной стороны" башня находится в прямой видимости. И есть мнение проверенное опытом, что этого окошка на л.п. вполне хватает для качественного приема. Просто надоело кривое кабельное ТВ с его постоянными помехами, отсутствием "звезды" и MTV и Евронюс. Если уж смотреть телевизор, то хотя бы всё, что в него засунули и в нормальном качестве:) А может есть вариант поймать логопериодической направленной антеной отражённый сигнал от одного из домов напротив, прокатит такой вариант?

0
sergey_sav
sergey_sav
Резидент

Регистрация: 21.06.2007

Санкт-Петербург

Сообщений: 10547

18.07.2007 в 23:57:21

Shamy написал : Если уж смотреть телевизор, то хотя бы всё, что в него засунули и в нормальном качестве

В зоне уверенного приема не только плоская антенна будет хорошо работать, а если есть возможность поставьте логоперку на крышу и будет точно всё путём! PS схемку найду, выложу.

0

Бесспорных мнений не бывает. Бывают мнения с которыми бесполезно спорить.

Shamy
Shamy
Местный

Регистрация: 14.10.2006

Краснодар

Сообщений: 119

19.07.2007 в 00:09:43

На крышу конечно тоже можно, живу высоко - до крыши 1 этаж, но ведь это надо согласовать с дэзом, ставить мачту, тянуть землю .. А тут - по идее минимум вопросов - чертёж, кусок тестолита и протравка. Спасибо за участие:)

0
iale
iale
Резидент

Регистрация: 29.10.2005

Москва

Сообщений: 14446

19.07.2007 в 00:21:35

2Shamy Можно просто из кабеля сделать, работать не хуже будет и травить не надо , тут http://www.radioland.net.ua/sxemaid-258.html

0
sergey_sav
sergey_sav
Резидент

Регистрация: 21.06.2007

Санкт-Петербург

Сообщений: 10547

19.07.2007 в 00:26:31

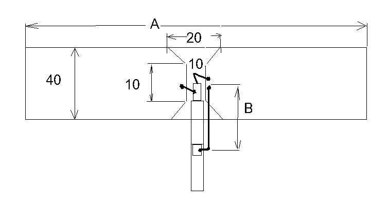
Порылся в бумагах, воспроизвел, как мог:D http://www.mastercity.ru/vforum/attachment.php?attachmentid=22975&stc=1&d=1184790305 На каналы/А/В 21-38/240/153 24-45/230/128 32-66/210/105 38-81/200/97 21-81/210/125 Творите;) Довесок - http://ideyka.narod.ru/TEMA/radio/rf/a-k-tv.htm - такая тоже дома валяется.

0

Бесспорных мнений не бывает. Бывают мнения с которыми бесполезно спорить.

Вложение
IS
IS
Резидент

Регистрация: 29.10.2005

Челябинск

Сообщений: 3740

19.07.2007 в 08:54:45

to Shamy

но ведь это надо согласовать с дэзом, ставить мачту, тянуть землю

Какое согласование?! Главное, попасть на крышу. Далее, приматываем антенну к любой подходящей конструкции, обычно их на крыше более чем достаточно, и спускаем кабель. Либо по шахте электростояка в подъезде, либо даже просто по наружной стене.

По работе занимаюсь радиосигнализациями, нередко антенны приходится ставить на крышу. Проблем никаких.

0
sergey_sav
sergey_sav
Резидент

Регистрация: 21.06.2007

Санкт-Петербург

Сообщений: 10547

19.07.2007 в 08:58:12

IS написал : Главное, попасть на крышу.

И убедить председателя или др. начальника, что кровля не будет повреждена. Это самое больное место у них.

0

Бесспорных мнений не бывает. Бывают мнения с которыми бесполезно спорить.

IS
IS
Резидент

Регистрация: 29.10.2005

Челябинск

Сообщений: 3740

19.07.2007 в 10:18:26

to sergey_sav

Часто ключи есть у кого-то из жильцов, так что найти у кого и договориться обычно большого труда не составляет. В моей практике был только один случай, когда хозяин квартиры сдуру пошел в ЖЭК, там его долго гоняли по начальникам, задавали вопросы, а когда выяснилось, что антенна приемо-передающая (радиосигнализация) в конечно счете отправили подальше. Пришлось присобачивать антенну на балконе, а там уровень сигнала был не ахти.

В крайнем случае, если ключи найти не получается, можно аккуратно применить гвоздодер, главное, привести потом все в первоначальный вид.

0
EvgenC
EvgenC
Местный

Регистрация: 08.05.2007

Москва

Сообщений: 181

19.07.2007 в 11:27:19

Как еще один вариант - с улицы у того самого окна прикрутить простенькую антенну. Кабель через лестничную клетку завести себе домой.

0
Shamy
Shamy
Местный

Регистрация: 14.10.2006

Краснодар

Сообщений: 119

20.07.2007 в 01:18:57

2 EvgenC: Тогда уж проще договориться с соседкой (она тоже не довольна качеством кабельного тв) и повесить логопериодическую у неё, а завести к себе через агромадную щель между плитами стены и заделанную пеной. Тогда ставить активную антенну и делитель? В случае наружной простенькой антенны её очевидно придётся заземлять?

2 IS: Гвоздодёр это конечно достаточно универсальный аргумент для навесных замков:) А его использование может квалифицироваться как проникновение со взломом. Не, мы на кошках больше заработаем:) (c) "операция "Ы""...

2 iale, 2 sergey_sav: антенна из коаксиала заинтересовала.. Только вот чертёж маленький, размеры практически нечитаемы:( И кстати, если такую конструкцию положить практически на мелалл. лист входной двери, как это скажется на приёме?

0
IS
IS
Резидент

Регистрация: 29.10.2005

Челябинск

Сообщений: 3740

20.07.2007 в 07:01:02

to Shamy

Ну гвоздодер - это крайний случай. Наверняка ключи есть у когого-то из соседей, надо поспрашивать, думаю, получится договориться.

Если положить такую антенну на металл, работать она будет очень плохо.

0

Авторизуйтесь или зарегистрируйтесь, чтобы оставить комментарий.

Присоединяйтесь к самому крупному DIY сообществу