chekalin-v
chekalin-v
Местный

Регистрация: 04.11.2009

Челябинск

Сообщений: 380

12.04.2010 в 10:13:41

Добрый день.
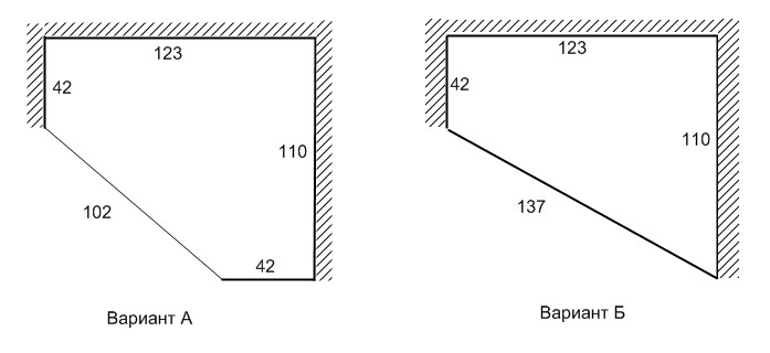
В прихожей есть ниша под шкаф. Первоначально была идея сделать встроенный шкаф и желательно как нарисовано на Варианте А. Зайдя в одну контору по производству, барышня нам сказала что по такому варианту сделать шкаф не получится, так как стороны разные, углы разные, и двери в таком варианте распашные не закрепить, для купе слишком маленькие получаются двери. Говорит надо делать купе по варианту Б. Но такой вариант что то мне не очень нравится, так как занимать места будет много, а полезного объема в шкафу будет мало. Насчитав за двери и полки 15000 в мозгу крутится идея сделать все это самому.

Теперь вопросы 1) Если остановиться на желаемом варианте А, то какие двери ставить в этом случае? Купе не подойдет, 50 см проем это конечно мало. Наверно идеальный вариант - гармошка. Можно ли ее сделать в моем случае 2) Стенка шкафа из ЛДСП. Получается ее нужно крепить к стене, полу и потолку? Или к стене не нужно? Как закреплять: на распорках или жестко болтами? 3) Как считаете, сложно ли все это сделать самаому? В том смысле что составить чертеж деталей и распил делать в цеху. На первый взгляд ничего сложного, только вот с дверями мне кажется по сложней будет.. 4) Точно ли подойдет сюда встроенный шкаф, либо все же нужно корпусной?

пока наверно все. Остальные вопросы будут после:)

0
Вложение
Чип и Дейл
Чип и Дейл
Резидент

Регистрация: 19.09.2007

Москва

Сообщений: 1688

12.04.2010 в 10:21:15

chekalin-v написал : для купе слишком маленькие получаются двери.

Нормальные.

0
chekalin-v
chekalin-v
Местный

Регистрация: 04.11.2009

Челябинск

Сообщений: 380

12.04.2010 в 10:26:23

2Чип и Дейл , то есть считаете, что лучше все таки сделать по варианту А с дверями купе? тогда мне вот что интересно: что за направляющая для них будет внизу? ведь если делать встроенный, то выходит что направляющая должна прикручиваться к полу, так? А какой она будет высоты? Или все же надо делать еще и пол у шкафа, чтоб между полом прихожей и полом шкафа спрятать направляющие?

0
chekalin-v
chekalin-v
Местный

Регистрация: 04.11.2009

Челябинск

Сообщений: 380

12.04.2010 в 11:39:50

Да кстати.. высота - 253 см. делать двери-купе размером 52х253 см.. как то слабо представляю себе это. Или нормально?

0
мамик_25
мамик_25
Резидент

Регистрация: 29.10.2005

Санкт-Петербург

Сообщений: 1987

12.04.2010 в 12:18:10

chekalin-v написал : как то слабо представляю себе это. Или нормально?

Я бы поставила 2 распашные Раум+. Удобней будет доступ. Высота нормальная. На фото шкаф других размеров. В плане 1000х600. Стороны :левая-600мм, правая-400мм, высота 3000мм, поэтому сделан с антресолью, ширина двери 550мм.

0
chekalin-v
chekalin-v
Местный

Регистрация: 04.11.2009

Челябинск

Сообщений: 380

12.04.2010 в 12:26:23

А если распашные, не возникнет ли проблем с креплением их к стенкам шкафа, особенно к несущей кирпичной стене..

0
мамик_25
мамик_25
Резидент

Регистрация: 29.10.2005

Санкт-Петербург

Сообщений: 1987

12.04.2010 в 12:45:19

chekalin-v написал : к стАнкам шкафа,

Не сразу сообразила о чём речь:eek: :D Поизучайте вопрос. Распашные крепятся не к стенкам, а к горизонтам (пол, крыша)

0
Гость
Гость
Аккаунт удален

Регистрация: 01.01.1970

Сообщений: 188626

12.04.2010 в 12:54:43

В Брауне есть узкая раздвижка Классик и есть распашные из системы Браун

0
chekalin-v
chekalin-v
Местный

Регистрация: 04.11.2009

Челябинск

Сообщений: 380

12.04.2010 в 13:00:31

Я просто все спрашиваю к тому, что мне в салоне наговорили всякой ерунды, что то нельзя, и другое нельзя.. вобщем чуть ли вообще нельзя в эту нишу запихнуть что то встроенное и угловое, а только корпусной квадратный.

Я вот все же думаю насчет гармошки. Например, вот такой: http://www.mdm-complect.ru/catalogue/index.php?BID=22&ID=760 смущает конечно то что профиль будет торчать из пола.

0
мамик_25
мамик_25
Резидент

Регистрация: 29.10.2005

Санкт-Петербург

Сообщений: 1987

12.04.2010 в 13:08:00

Ms Br написал : системы Браун

Это клон Раум+ ??? Интересно, где производят?

0
Гость
Гость
Аккаунт удален

Регистрация: 01.01.1970

Сообщений: 188626

12.04.2010 в 15:17:57

Нижняя направляющая будет обязательно, если это нижнеопорная система.Если будет подвесная. то внизу останется только 40 мм флажка. Для распашных и раздвижных высота нижней направляющей в Брауне и аналогах не превышает 6 мм

0

Авторизуйтесь или зарегистрируйтесь, чтобы оставить комментарий.

Присоединяйтесь к самому крупному DIY сообществу