13.02.2018 в 13:24:52
seat80, А можно фото вашего шкафчика ?
Да, ни фига.
13.02.2018 в 13:28:18
dokar написал: Меньше по ЧМ - стройкам ходить надо
Да стройки меня совсем не интересуют, терпеть их не могу! :killyourselfbywall:
Проектирование и сборка электрощитов.
Автоматизация систем ("Умный дом", IoT).
Разработка монтажных схем для самостоятельной сборки щитов.
Библиотека автоматики для Visio.
13.02.2018 в 13:32:27
dokar написал: Может погусарить ?
Да чего уж там:
Проектирование и сборка электрощитов.
Автоматизация систем ("Умный дом", IoT).
Разработка монтажных схем для самостоятельной сборки щитов.
Библиотека автоматики для Visio.
13.02.2018 в 13:57:37
dokar написал: А можно фото вашего шкафчика ?
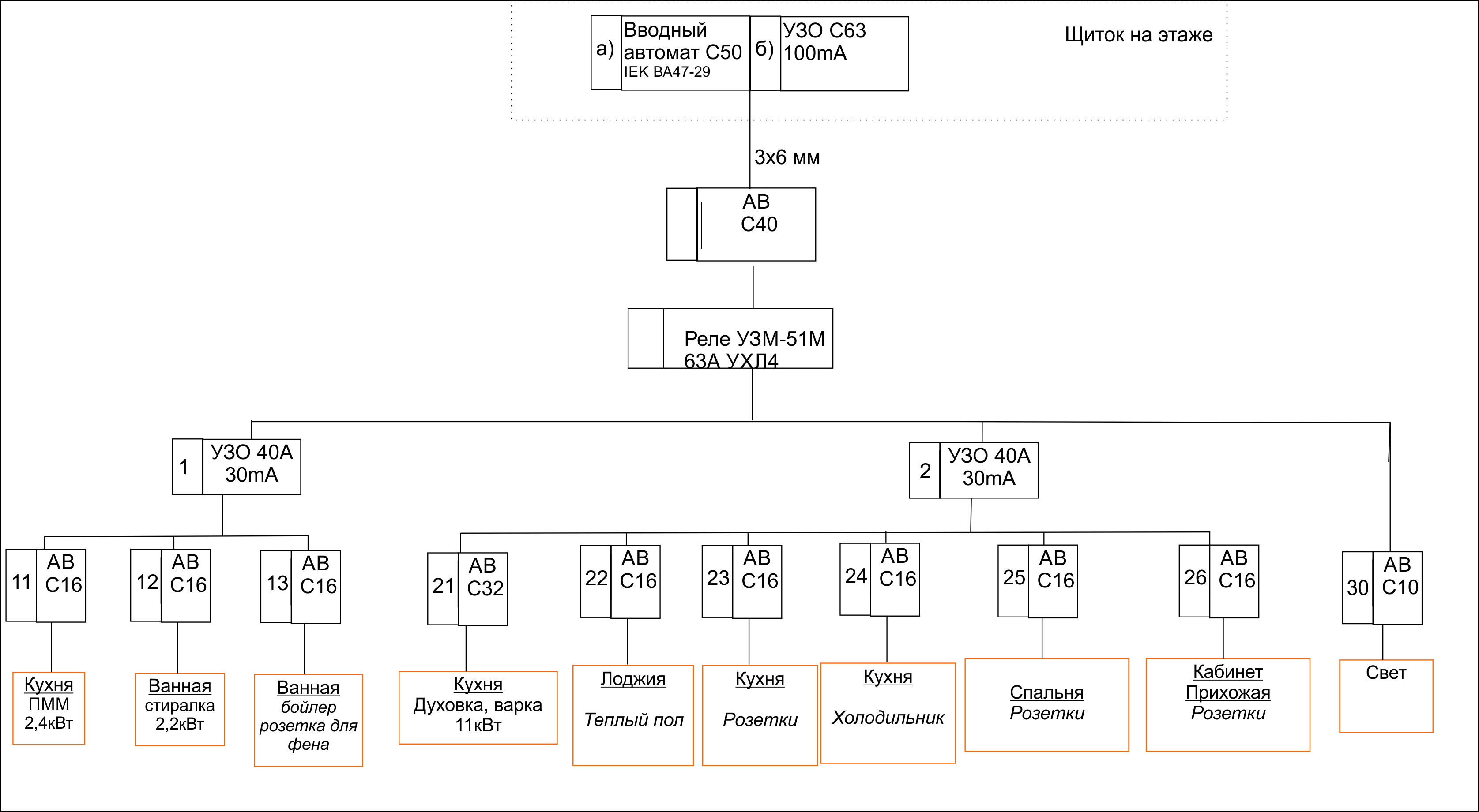
Щит пластиковый Лезард ЩРВ-П-16 на 16 модулей. Фото прилагаю.
Пока у меня получается такая схема:


13.02.2018 в 14:07:21
Проектирование и сборка электрощитов.
Автоматизация систем ("Умный дом", IoT).
Разработка монтажных схем для самостоятельной сборки щитов.
Библиотека автоматики для Visio.
13.02.2018 в 15:23:04
seat80, что мешает объединить розетку для холодильника с группой розеток кухни ?
seat80 написал: Лезард ЩРВ-П-16 на 16 модулей
Ну, вот и мучайтесь теперь.
Грубый, но справедливый
13.02.2018 в 15:36:39
MaSeVi написал: Что-то придётся убрать...
Если объединить розетки кухни и холодильник, то вроде получается: УЗМ-51М 63А - 1 шт. - 2 места АВ -10 шт. - 10 мест УЗО - 2 шт. - 4 места Итого: 16 мест
13.02.2018 в 15:38:14
seat80, а как собираетесь групповые нули для УЗО реализовывать?
Сделал дело - главное увернуться от благодарности.
13.02.2018 в 15:48:03
seat80 написал: УЗМ-51М 63А - 1 шт. - 2 места
Вам принципиально ставить УЗМ?
Проектирование и сборка электрощитов.
Автоматизация систем ("Умный дом", IoT).
Разработка монтажных схем для самостоятельной сборки щитов.
Библиотека автоматики для Visio.
13.02.2018 в 15:58:50
Грубый, но справедливый
Авторизуйтесь или зарегистрируйтесь, чтобы оставить комментарий.
Присоединяйтесь к самому крупному DIY сообществу