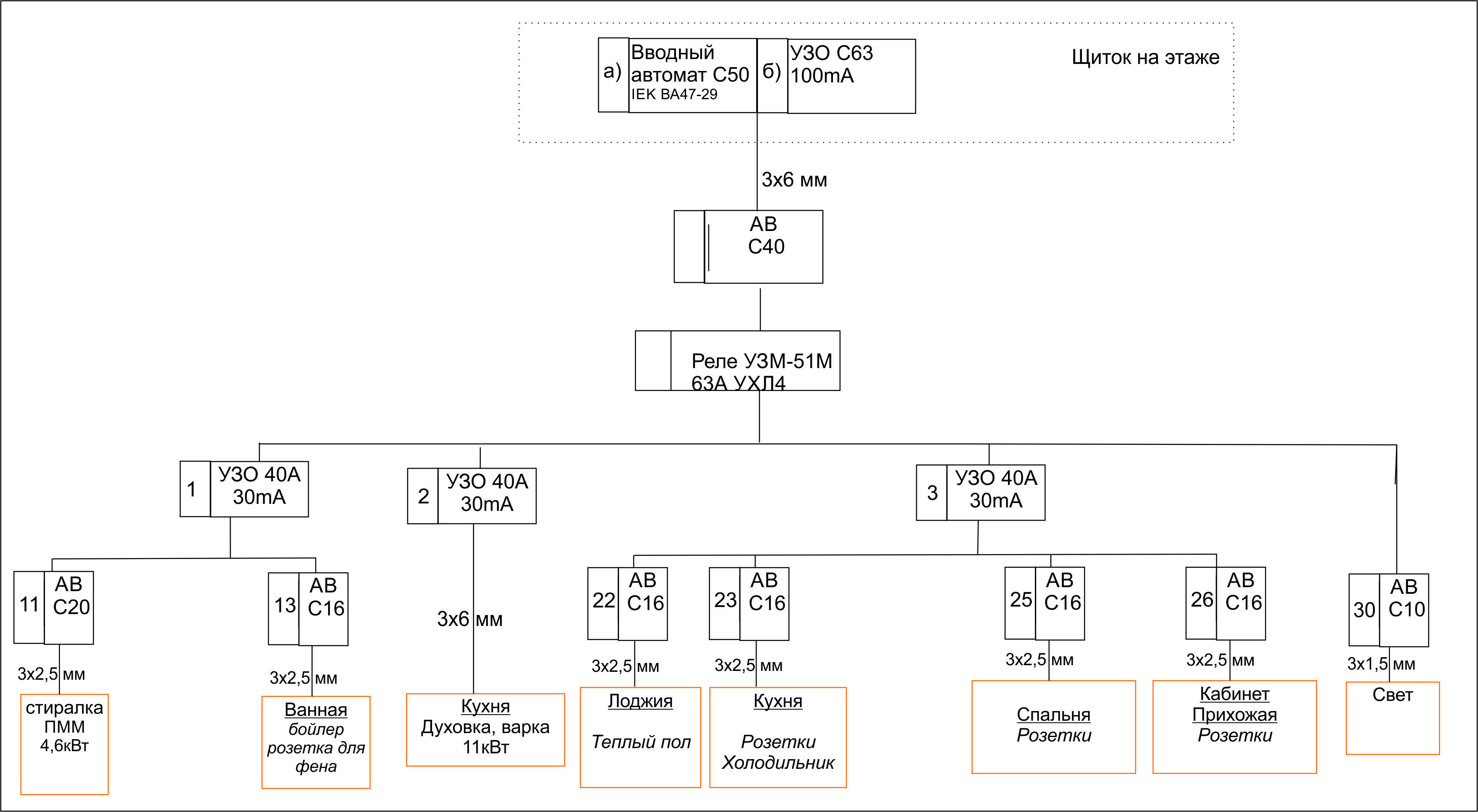
megrad написал: а как собираетесь групповые нули для УЗО реализовывать?
Я не электрик (монтажом буду заниматься не я, моя задача выбрать какие линии будут защищаться какими средствами защиты), поэтому суть Вашего вопроса для меня не совсем ясна. Вы имеете ввиду, что 6 АВ это слишком много для одного УЗО? Или конкретизируйте, пожалуйста, проблему.

