evgenygrig
evgenygrig
Резидент

Регистрация: 20.02.2007

Красногорск

Сообщений: 2471

17.09.2007 в 13:41:04

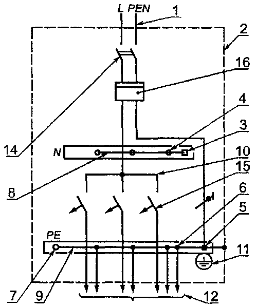
А почему нельзя разделить PEN после счетчика, как в ГОСТе нарисовано?

0
Вложение
ВТБ!
ВТБ!
Дилетант

Регистрация: 29.10.2005

Москва

Сообщений: 27304

17.09.2007 в 13:46:59

evgenygrig написал : почему нельзя разделить PEN после счетчика

Коммутация PEN запрещена, а на картинке двухполюсник. Опломбированные соединения в счётчике недоступны для ревизии и обслуживания.

0

Следование моим советам вредит кошельку

Zuban
Zuban
Новичок

Регистрация: 10.01.2007

Москва

Сообщений: 96

17.09.2007 в 13:53:57

ВТБ! написал : Цитата:Сообщение от Zuban сделать вашу шину N шиной PEN

Не положено.

Аргументируйте

ВТБ! написал : Цитата:Сообщение от Zuban: сделать отдельную шину РЕ, объединив ее с N перемычкой

PEN от ВЛ завести на шину PE. Но "садовый" электрик может усмотреть в этом предпосылки к краже и потребовать сначала пропустить "ноль" через счётчик.

В соответствии с ГОСТами и ПУЭ, PEN-проводник должен разделяться на РЕ и N в ВРУ, каковым будет проектируемый щиток. Этот РЕN-проводник, куда деваться, пропускаем через счетчик, раскидываем на шины РЕ и N, и к РЕ прикручиваем конец от к/либо местного заземлителя, например, металлоконструкций фундамента здания.

Вот и получится неразрывный защитный проводник, от чем и говорится в ГОСТах

0
evgenygrig
evgenygrig
Резидент

Регистрация: 20.02.2007

Красногорск

Сообщений: 2471

17.09.2007 в 13:58:25

Однако... ПУЭ 1.7.145. Допускается одновременное отключение всех проводников на вводе в электроустановки индивидуальных жилых, дачных и садовых домов, питающихся по однофазным ответвлениям от ВЛ. При этом разделение pen-проводника на РЕ- и n-проводники должно быть выполнено до вводного защитно-коммутационного аппарата.

Т.е. ПУЭ противоречит картинке в ГОСТе. Следовательно, придется 2-полюсный автомат после счетчика и разделения PEN-проводника ставить - только на L и N.

0
Дмитрий Z
Дмитрий Z
Местный

Регистрация: 26.06.2007

Москва

Сообщений: 105

17.09.2007 в 14:20:50

ВТБ! написал : Вот-вот, на вводе 2*10 уже "пож" - а отвод 2*25 еле тёплый.
Уж лучше ввод "потолще".

Так ввод 2х10 мм.кв. это медь, куда уж толще.

ВТБ! написал : Это на какой высоте? Не проще сразу СИП в щиток завести? Всё равно особого смыслав полуметровом огрызке кабеля не будет - только лишние соединения.

Высота более 3 метров. СИП в щиток вроде нельзя - он же алюминиевый? Надо на медь переходить, в помещениях алюминий нельзя насколько я знаю, а сжимы переходов будут спецальные герметичные.

ВТБ! написал : Это отдельное заземление Вашей части электроустановки - без повторного заземления "нуля".

А его можно будет сделать потом, не вмешиваясь в уже сделанное отвлетвление от ВЛ к СИП? Просто не хочу сейчас еще и землей заморачиваться, нада сначала выяснить как в СНТ у других устроено.

ВТБ! написал : 3*2.5 после автомата 16А - это уже с запасом.

Но ведь хуже то не будет

ВТБ! написал : Насос погружной?

Да насос будет погружной, примерно на 600-1000 вт.

Zuban написал : В соответствии с ГОСТами и ПУЭ, PEN-проводник должен разделяться на РЕ и N в ВРУ, каковым будет проектируемый щиток. Этот РЕN-проводник, куда деваться, пропускаем через счетчик, раскидываем на шины РЕ и N, и к РЕ прикручиваем конец от к/либо местного заземлителя, например, металлоконструкций фундамента здания.

Вот и получится неразрывный защитный проводник, от чем и говорится в ГОСТах

Т.е. я смогу это сделать и позднее, просто прикрутив к РЕ какой-нибудь естественный заземлитель?

0
ВТБ!
ВТБ!
Дилетант

Регистрация: 29.10.2005

Москва

Сообщений: 27304

17.09.2007 в 14:21:28

evgenygrig

Или трёхполюсный после разделения PEN.

Zuban написал : Аргументируйте

Шина PEN в точке разделения не предусмотрена - PEN заводится на шину PE. А от неё перемычка - одна! - к шине N или на зажим коммутационного аппарата.

0

Следование моим советам вредит кошельку

Zuban
Zuban
Новичок

Регистрация: 10.01.2007

Москва

Сообщений: 96

17.09.2007 в 14:27:46

Согласен

0
Zuban
Zuban
Новичок

Регистрация: 10.01.2007

Москва

Сообщений: 96

17.09.2007 в 14:31:35

Дмитрий Z написал : Т.е. я смогу это сделать и позднее, просто прикрутив к РЕ какой-нибудь естественный заземлитель?

Думаю, да.

0
Дмитрий Z
Дмитрий Z
Местный

Регистрация: 26.06.2007

Москва

Сообщений: 105

17.09.2007 в 14:39:47

Вот нашел УЗО в Электромонтаже,
АВВ, тип АС, цена 1922 руб. http://www.electro-mpo.ru/card10206.html Legrand, тип А, цена 2114 руб. http://www.electro-mpo.ru/card9211.html Какое лучше подойдет?

0
Zuban
Zuban
Новичок

Регистрация: 10.01.2007

Москва

Сообщений: 96

17.09.2007 в 14:54:56

За прошедший год наша электроизмерительная лаборатория не зафиксировала ни одного случая брака среди автоматов и УЗО от АББ и Легранда. Полагаю, что общее число проверенных устройств за этот период составило несколько сотен, пожалуй, ближе к тысяче. Так что, выбирайте того производителя, который устроит вас по цене. Я себе для дачи взял Леграндовский вводной автомат именно по такому же принципу. Однако, мои слова вовсе не означают, что у данных производителей вовсе бывает брака, просто мы с ним не сталкивались.
По-хорошему, все автоматы должны проверяться перед монтажом. Но, к сожалению, простым смертным это не всегда доступно.

0
Дмитрий Z
Дмитрий Z
Местный

Регистрация: 26.06.2007

Москва

Сообщений: 105

17.09.2007 в 15:17:02

Вот выбрал себе комплектик автоматов, все фирмы Легранд: Входной 2-х полюсный, 32А, цена 550 руб: http://www.electro-mpo.ru/card7450.html УЗО, 40А, цена 1337 руб. http://www.electro-mpo.ru/card4777.html АЗ 16А и 10А оба по цене 197 руб. http://www.electro-mpo.ru/card7448.html

Кто что посоветует? Подходит под мою схему? И еще подскажите плиз, как отличать электронное УЗО от механического или электромеханического по аббревиатуре? Тип АС в УЗО что обозначает?

0

Авторизуйтесь или зарегистрируйтесь, чтобы оставить комментарий.

Присоединяйтесь к самому крупному DIY сообществу