ВТБ!
ВТБ!
Дилетант

Регистрация: 29.10.2005

Москва

Сообщений: 27076

08.02.2007 в 15:07:42

Leonid53 написал : ПЗР - пуско-защитное реле

Не-а, прибор защиты расхода или как-то так. Еле отбились, чтобы в ТУ не вписали.

ОПС - охранно-пожарная сигнализация

ОПН - ограничитель перенапряжений (импульсных). ОПС - конкретная модель конкретного производителя, вероятно.

0

Следование моим советам вредит кошельку

Михалыч
Михалыч
Резидент

Регистрация: 29.03.2006

Липецк

Сообщений: 12115

08.02.2007 в 21:00:39

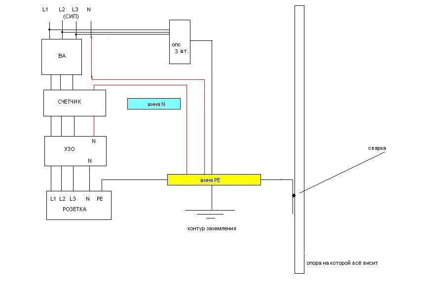
ВТБ! написал : 1) Всё строго по Правилам. Pen от ВЛ заводите непосредственно на шину Pe, с неё на счётчик (раз автомат трёхполюсный), со счётчика на УЗО. Могут необоснованно отказаться опломбировать.

Теперь так?:

0
Вложение
ВТБ!
ВТБ!
Дилетант

Регистрация: 29.10.2005

Москва

Сообщений: 27076

08.02.2007 в 21:42:43

Михалыч

К вопросу о токе КЗ фаза-ноль. Даже если СИП 3*120+95, то при удалении от ТП 1800м сопротивление линии выйдет больше одного ома.

Если заменить автомат на трёхполюсный, то нормально. Только зачем промежуточная (до УЗО) шина N? Перемычку для инспектора сделать? ;)

0

Следование моим советам вредит кошельку

Михалыч
Михалыч
Резидент

Регистрация: 29.03.2006

Липецк

Сообщений: 12115

08.02.2007 в 21:50:40

ВТБ! написал : Если заменить автомат на трёхполюсный, то нормально. Только зачем промежуточная (до УЗО) шина N? Перемычку для инспектора сделать?

Инспектор уже не придет- подписал мне всё. Для себя просто надо правильно сделать. Теперь так?:

0
Вложение
Михалыч
Михалыч
Резидент

Регистрация: 29.03.2006

Липецк

Сообщений: 12115

08.02.2007 в 21:51:35

ВТБ! написал : К вопросу о токе КЗ фаза-ноль. Даже если СИП 3*120+95, то при удалении от ТП 1800м сопротивление линии выйдет больше одного ома

А, что это значит и на что влияет?

0
ВТБ!
ВТБ!
Дилетант

Регистрация: 29.10.2005

Москва

Сообщений: 27076

08.02.2007 в 22:03:30

Михалыч написал : Теперь так?

Да. ОПС - это просто искровые разрядники или варисторы? Варисторы, вроде, после автомата ставить положено.

на что влияет?

На ток КЗ с фазы на землю - электромагнитный расцепитель C25 может и не сработать при КЗ. Разве что проверить? ;) Шутка. В25 - дело другое.

0

Следование моим советам вредит кошельку

Михалыч
Михалыч
Резидент

Регистрация: 29.03.2006

Липецк

Сообщений: 12115

09.02.2007 в 10:11:26

ВТБ! написал : ОПС - это просто искровые разрядники или варисторы? Варисторы, вроде, после автомата ставить положено.

марка ОПС-1С пр-во ИЭК.

0
ВТБ!
ВТБ!
Дилетант

Регистрация: 29.10.2005

Москва

Сообщений: 27076

09.02.2007 в 10:48:20

Михалыч

Так насчёт 1800м до ТП - это точно? Действительно неразрывный провод тянется по столбам на километры? Визуально проверяли?

ОПС-1С пр-во ИЭК

Они ничего не пишут, но по аналогии можно предположить достаточность автомата 25А для защиты. Площадь петли должна быть минимальной.

0

Следование моим советам вредит кошельку

Вложение
Михалыч
Михалыч
Резидент

Регистрация: 29.03.2006

Липецк

Сообщений: 12115

09.02.2007 в 22:44:38

ВТБ! написал : Действительно неразрывный провод тянется по столбам на километры? Визуально проверяли?

На самом деле там не очень хорошо видно, но метров за 250 от моего дома, возле магазина и небольшой улицы, происходит ответвление. Там очень большой пучок проводов. Раделяется все это на несколько частей. И ещё вопрос- хочу весь этот щиток перенести в дом. До дома 12 метров. От контура заземления проложил полосу 4х40. СИП висит на подвесе на опоре. Чем соединиться от СИПа до щитка? Или всё надо переделывать? На улице как-то стремно щиток оставлять. Я так думаю- до утра не довисит...

ВТБ! написал : Площадь петли должна быть минимальной.

Площадь петли тогда изменится...

0
ВТБ!
ВТБ!
Дилетант

Регистрация: 29.10.2005

Москва

Сообщений: 27076

10.02.2007 в 09:57:48

Михалыч написал : Площадь петли тогда изменится

С чего бы это - если тот же ящик перевесите?

хочу весь этот щиток перенести в дом

pen разделите на столбе - так безопаснее. Отвод в дом будет подземным кабелем?

0

Следование моим советам вредит кошельку

Михалыч
Михалыч
Резидент

Регистрация: 29.03.2006

Липецк

Сообщений: 12115

10.02.2007 в 11:51:24

Хотел воздушку. Там 8 метров (перемерил). На стене 2 изолятора прикручены. Стальной тросик надо?

0

Авторизуйтесь или зарегистрируйтесь, чтобы оставить комментарий.

Присоединяйтесь к самому крупному DIY сообществу