alexey43
alexey43
Новичок

Регистрация: 10.03.2011

Киров

Сообщений: 32

05.04.2011 в 16:17:28

Нужен совет по подключению трех приборов на кухне: посудомойка, стиралка, раковина с диспоузером, на какой высоте расположить сливы? в какой последовательности? Заранее благодарю! :)

0
Technik-san
Technik-san
Техник-сан

Регистрация: 10.10.2006

Москва

Сообщений: 11528

05.04.2011 в 21:11:16

alexey43 написал : Нужен совет по подключению трех приборов на кухне: посудомойка, стиралка, раковина с диспоузером

Смотрите фото

0
Вложение
Technik-san
Technik-san
Техник-сан

Регистрация: 10.10.2006

Москва

Сообщений: 11528

06.04.2011 в 00:34:40

Вывод слива для стиралки и посудомойки на высоте 65см от чистого пола , вывод слива с измельчителя - не выше 35см и обязательно отступить вправо или влево от его оси на 150мм , для соединения компенсирующего уч-ка с сифоном , т.к. при включении диспоузера и прямом соединении слива , от вибрации будет отрывать прямую подводку . Инструкция по установке

http://www.insink.ru/insink/ergo/mont_instruction.pdf

0
Technik-san
Technik-san
Техник-сан

Регистрация: 10.10.2006

Москва

Сообщений: 11528

07.04.2011 в 01:24:49

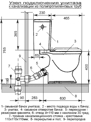
Соединение старого советского унитаза от чугунного стояка , различные варианты

0
Вложение
Викторia
Викторia
Местный

Регистрация: 16.06.2011

Москва

Сообщений: 138

08.07.2011 в 15:16:38

Чтоб обеспечить функциональное и комфортное использование сантехники необходимо убедиться в том, что функциональная площадь является достаточной. Ниже представлены функциональные площади и примеры расположения сантехники в малогабаритных ванных комнатах, что является актуальным на сегодняшний день. http://s2.ipicture.ru/uploads/20110708/LLTNzYDf.jpg

0
Sha
Sha
Местный

Регистрация: 22.01.2010

Киев

Сообщений: 395

18.11.2011 в 01:26:47

А есть ли стандарт на размещение водорозеток и вывода канализации для угловых рукомойников с расположением смесителя в углу, если подключение смесителя планируется через угловые краны в водорозетках медными хромированными трубками? К рукомойнику никаких чертежей не прилагалось.

0
master.msk
master.msk
master.msk

Регистрация: 20.11.2008

Москва

Сообщений: 17386

18.11.2011 в 01:32:43

Sha написал : есть ли стандарт

Да нету стандартов...20 лет назад может были.

Sha написал : К рукомойнику никаких чертежей не прилагалось.

это основной признак "левизны" рукомойника. У всех нормальных производителей есть монтажные чертежи.

0
Олегович
Олегович
Эксперт

Регистрация: 26.11.2010

Москва

Сообщений: 5082

18.11.2011 в 01:41:39

радиаторы отопления в новостройке, как оно должно быть если стояки из стали-без вариантов.

ошибся темой, хотел в монтаж фотки после, но по сути этим фото тут и место чтобы люди видели как радиаторы монтируются правильно и по стандарту...

0
Вложение
Technik-san
Technik-san
Техник-сан

Регистрация: 10.10.2006

Москва

Сообщений: 11528

18.11.2011 в 01:52:53

Sha написал : ... есть ли стандарт на размещение водорозеток и вывода канализации для угловых рукомойников с расположением смесителя в углу

По оси слива с раковины + 1см на плитку - это и есть верт. ось вывода 40мм канализации из стены и на высоте 55-60мм от "чистого пола", при стандартной высоте умывальника 850мм, а ось водорозеток , если смеситель в углу , высчитываем таким образом - диаметр хромированных отражателей 50-55мм , делим пополам и прибавляем 1см. на плитку значит ближняя к углу водорозетка должна быть по верт. оси от стены не менее чем 40мм и между водорозетками расстояние не менее 80мм

0
Вложение
Kranoff
Kranoff
Резидент

Регистрация: 07.04.2011

Санкт-Петербург

Сообщений: 1376

21.11.2011 в 08:16:40

Tehnik-san написал : ось вывода 40мм канализации из стены и на высоте 55-60мм от "чистого пола", при стандартной высоте умывальника 850мм

У маленьких умывальников чаще небольшая глубина, 55 см для вывода канашки в таком случае будет слишком низко и просто не хватит, чтобы поставить его на высоте 85 см. Для глубокого умывальника и с донным клапаном, наоборот, 60 см будет слишком высоко... В идеале сперва конкретно определиться c моделью умывальника и наличием либо отсутствием донного клапана.

0
Fylhtq
Fylhtq
Новичок

Регистрация: 28.11.2011

Сергиев Посад

Сообщений: 17

28.12.2011 в 21:00:30

В ванной устанавливаю кран с длинным носиком совмещенный для умывальной раковины и вынной. Нужно знать взаимное расположение умывальной раковины и крана. Скажите, пожалуйста:

  1. на каком расстоянии по высоте от бортика умывальной раковины должно находиться отверстие носика крана? 2 на каком расстоянии по горизонали от центра сливного отверстия умывальной раковины должно находиться отверстие носика крана?
0

Авторизуйтесь или зарегистрируйтесь, чтобы оставить комментарий.

Присоединяйтесь к самому крупному DIY сообществу